forum.Ohota.by в Telegram - ВОЙТИ

КУРИЛКА (технический отдел)

Самодельные лодочные моторы, транспортные средства, лодки,а также все то что приводится в движения двигателем и не только.

Модератор: Yurkoff

Поделиться ...

Re: КУРИЛКА (технический отдел)

Сообщение акваланг » 07 янв 2015, 17:20

RV3LE писал(а):Спаять и я сумею, только вот что паять?

Да, это мы могём и могем. Недавно паял самодельную светодиодную лампу в велофару, кристалы выпаивал из светодиодной ленты, паяльник был только 100ваттный. Cсылка скрыта. Для просмотра зарегистрируйтесь на форуме или войдите на форум.
Cсылка скрыта. Для просмотра зарегистрируйтесь на форуме или войдите на форум. Выпаивал из ленты которая рассчитана на напряжение 24V, сам кристалл работает где то от 2-3,5V, но главное сила тока. Если сравнивать с диодами в плексиглазовом корпусе, которые имеют тенденцию к снижению яркости, в плоть до полного выхода из строя, то ленточные явно рулят, хотя и требуют дополнительного охлаждения. Даже видеокамера не в состоянии заснять реальный свет излучаемый этими светодиодами. Cсылка скрыта. Для просмотра зарегистрируйтесь на форуме или войдите на форум.
Что уж говорить, если использовать более мощный светодиод на радиаторной плате, в купе с вторичной оптикой, суперпрожектор получается, причём спецоптика для светодиода, компактней, легче, и фокус луча, предпочтительней ручному подбору, состоящему из стеклянных совдеповских линз Cсылка скрыта. Для просмотра зарегистрируйтесь на форуме или войдите на форум.
Хочу применить данные, полученные в результате экспериментов, к лодочному мотору, наигравшись с самодельной катушкой к мотовелосипеду, кстати, диодный мост после катушки, для питания светодиода, оказался не нужным звеном, работает и без него, остаётся выяснить с катушкой к гибриду.
Последний раз редактировалось акваланг 07 янв 2015, 18:39, всего редактировалось 1 раз.

За это сообщение автора акваланг поблагодарил:
root
акваланг
Гуру
 
Сообщения: 1708
Зарегистрирован: 17 янв 2013, 01:07
Репутация: 9 [ ? ]
Благодарил (а): 120 раз.
Поблагодарили: 129 раз.

forum.Ohota.by в Telegram - ВОЙТИ

Re: КУРИЛКА (технический отдел)

Сообщение RV3LE » 07 янв 2015, 18:10

акваланг писал(а):паяльник был только 100ваттный.

100 ваттным любой дурак сумеет. Даже ты :-) (Не обижайся - это поговорка такая :smu:sche_nie: ). А ты трансивер 25-ваттным спаяй...
Аватара пользователя
RV3LE
Гуру
 
Сообщения: 1296
Зарегистрирован: 01 июл 2010, 23:09
Репутация: 14 [ ? ]
Награды: 1
За особый вклад в жизнь форума (1)
Благодарил (а): 90 раз.
Поблагодарили: 279 раз.

Re: КУРИЛКА (технический отдел)

Сообщение акваланг » 07 янв 2015, 18:44

RV3LE писал(а):
акваланг писал(а):паяльник был только 100ваттный.

100 ваттным любой дурак сумеет. Даже ты :-) (Не обижайся - это поговорка такая :smu:sche_nie: ). А ты трансивер 25-ваттным спаяй...

Полагаю, что если есть дурак который легко управляется с сто ваттным паяльником, найдётся и другой дурак, который управится даже с 25-ваттным!!!
акваланг
Гуру
 
Сообщения: 1708
Зарегистрирован: 17 янв 2013, 01:07
Репутация: 9 [ ? ]
Благодарил (а): 120 раз.
Поблагодарили: 129 раз.

Re: КУРИЛКА (технический отдел)

Сообщение RV3LE » 07 янв 2015, 19:22

акваланг писал(а):Полагаю, что если есть дурак который легко управляется с сто ваттным паяльником, найдётся и другой дурак, который управится даже с 25-ваттным!!!

:co_ol:
Аватара пользователя
RV3LE
Гуру
 
Сообщения: 1296
Зарегистрирован: 01 июл 2010, 23:09
Репутация: 14 [ ? ]
Награды: 1
За особый вклад в жизнь форума (1)
Благодарил (а): 90 раз.
Поблагодарили: 279 раз.

Re: КУРИЛКА (технический отдел)

Сообщение De_Mon » 07 янв 2015, 22:33

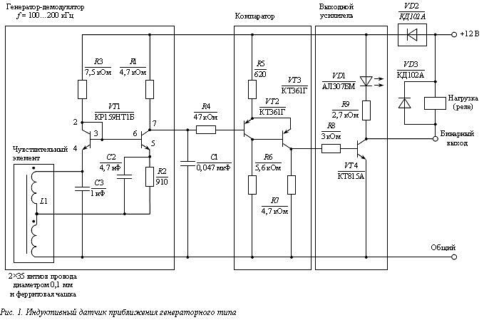
Хватит тут паяльниками мерятся :-) , по поводу сигнализатора можно по типу этого, но сразу смотрим на сложность, но я думаю что можно и попроще на более новой элементной базе.
Вложения
spic_0001236.jpg
De_Mon
Свой
 
Сообщения: 94
Зарегистрирован: 13 ноя 2013, 11:00
Репутация: 1 [ ? ]
Благодарил (а): 3 раз.
Поблагодарили: 13 раз.

Re: КУРИЛКА (технический отдел)

Сообщение root » 07 янв 2015, 22:34

Я на 100 ваттный паяльник, на жало, намотал виток к витку медный провод, 4 квадрата вроде, с торчащим концом..в итоге позволяет вести достаточно тонкие работы, но и если что-то разогреть надо тоже могет :)

Когда делал, делал от безысходности, не было маломощного паяльника, а как поработал так и прижилось.
Аватара пользователя
root
ohota.by
 
Сообщения: 9509
Зарегистрирован: 11 ноя 2006, 01:41
Откуда: Минск
Репутация: 117 [ ? ]
Благодарил (а): 4204 раз.
Поблагодарили: 3665 раз.

Re: КУРИЛКА (технический отдел)

Сообщение RV3LE » 07 янв 2015, 23:27

De_Mon
Генераторы-компараторы - это всё понятно. Главное - как реализовать источник сигнала с минимальным ущербом для самой снасти? Геркон не катит. Катушка на конце удочки - тоже.
Я всё равно буду отстаивать свою точку зрения: сигнализатор должен быть отдельной конструкцией со своим автономным питанием, как в сотовом телефоне, например и сигналкой. А удочка/удочки - отдельно, никаких проводов.

За это сообщение автора RV3LE поблагодарил:
Shade
Аватара пользователя
RV3LE
Гуру
 
Сообщения: 1296
Зарегистрирован: 01 июл 2010, 23:09
Репутация: 14 [ ? ]
Награды: 1
За особый вклад в жизнь форума (1)
Благодарил (а): 90 раз.
Поблагодарили: 279 раз.

Re: КУРИЛКА (технический отдел)

Сообщение De_Mon » 08 янв 2015, 00:54

А почему катушка на кончике не катит, она может крепится прищепкой, как обычный колокольчик, на кивок наклеить кусочек металлической фольги (если он сам пластиковый), катушка там получится в районе 5х10 мм.

А если серьезно то я бы делал сигнализатор либо по натяжению лески, либо по (весу) удочки.

За это сообщение автора De_Mon поблагодарил:
Shade
De_Mon
Свой
 
Сообщения: 94
Зарегистрирован: 13 ноя 2013, 11:00
Репутация: 1 [ ? ]
Благодарил (а): 3 раз.
Поблагодарили: 13 раз.

Re: КУРИЛКА (технический отдел)

Сообщение RV3LE » 08 янв 2015, 10:26

De_Mon писал(а):на кивок наклеить кусочек металлической фольги (если он сам пластиковый)

Я люблю кивки из щетины. Какую железную фольгу на неё наклеишь? Не представляю.
Аватара пользователя
RV3LE
Гуру
 
Сообщения: 1296
Зарегистрирован: 01 июл 2010, 23:09
Репутация: 14 [ ? ]
Награды: 1
За особый вклад в жизнь форума (1)
Благодарил (а): 90 раз.
Поблагодарили: 279 раз.

Re: КУРИЛКА (технический отдел)

Сообщение Jonson2 » 08 янв 2015, 11:37

Вродь изначальная постановка задачи: ленивая ловля леща, для чего и сигналка хотелась.
Вижу так: видели колодец типа журавль? Вот по такому же принципу: основание, из него торчит типа рогулька, перекладинка на удочке, в нужном месте, шоб при достаточной потяжке вся удочка кивала, а уташшить её вместе с основанием рыба не может, потому как тянет вниз. В то же время уду всегда можно снять движением вверх и заниматься активным дрочингом независимо от подставки и сигналки.
В жопе удочки магнитик, в подставке геркон, несложная схемка, паровозный ревун на конце проводков. :-):
Rioby (MTD)700 - 1л.с., Champion T334 - 1.2 л.с., Stihl FS130 4MIX 1.9 л.с., Форвард 620 в процессе...
Воронеж-Мини, Пеликан 280М

За это сообщение автора Jonson2 поблагодарили - 2:
акваланг, Shade
Аватара пользователя
Jonson2
Гуру
 
Сообщения: 1283
Зарегистрирован: 10 май 2011, 18:39
Откуда: Новосибирск
Репутация: 16 [ ? ]
Награды: 1
За особый вклад в жизнь форума (1)
Благодарил (а): 68 раз.
Поблагодарили: 184 раз.

Re: КУРИЛКА (технический отдел)

Сообщение RV3LE » 08 янв 2015, 12:20

Jonson2 писал(а):ленивая ловля леща

Так в том то и дело, что "ленивый" лещ берёт очень осторожно и главное, гад, берёт на подъём сторожка...
Аватара пользователя
RV3LE
Гуру
 
Сообщения: 1296
Зарегистрирован: 01 июл 2010, 23:09
Репутация: 14 [ ? ]
Награды: 1
За особый вклад в жизнь форума (1)
Благодарил (а): 90 раз.
Поблагодарили: 279 раз.

Re: КУРИЛКА (технический отдел)

Сообщение акваланг » 08 янв 2015, 12:26

root писал(а):Я на 100 ваттный паяльник, на жало, намотал виток к витку медный провод, 4 квадрата вроде, с торчащим концом..в итоге позволяет вести достаточно тонкие работы, но и если что-то разогреть надо тоже могет :)

Когда делал, делал от безысходности, не было маломощного паяльника, а как поработал так и прижилось.

Чем больше паяльников у мастера, тем ещё больше их хочется иметь в своём инструментарии, казалось бы, имея к примеру всего пару, на 100ватт и 40ватт уже можно спаять практически всё, от полупроводника до садовой лейки, но в виду не частого пользования паяльником иметь более одного уже не рационально. Ещё пацаном, нашел на свалке свой первый паяльник, устранил обрыв в нагревательном элементе, отмотав несколько витков, после такого ремонта паяльник стал сильно греться и я не успевал нанести канифоль на место спайки или лужения, так как она успевала полностью испариться, пришлось больше выдвинуть жало, но при этом оно стало качаться, пришлось сделать отключаемую розетку на удлиннителе (фанерную педаль с возвратной пружиной и настенным выключателем), паял таким образом не долго, вскоре такой метод перестал устраивать из за насмешек сверстников и нудности постоянного счёта времени, купил новый на 25 ватт, в комплекте была подставка с двумя ванночками и проволочный припой с флюсом, покупка оказалась полным барахлом, пальцы постоянно обжигало пластмассовой ручкой, а ждать пока нагреется жало, приходилось очень долго. Вот и пришлось модернизировать старый паяльник со свалки, просверлил в районе изгиба жала отверстие ф3мм и вставил в него запасное жало от нового паяльника, обрезал лишнее и двумя ударами молотка расклепал в месте сопряжения. Пользовался таким паяльником года 3, не везде удобно подлезать такой кроколыгой, но зато не вращается и работает как 2 в 1.

За это сообщение автора акваланг поблагодарил:
Shade
акваланг
Гуру
 
Сообщения: 1708
Зарегистрирован: 17 янв 2013, 01:07
Репутация: 9 [ ? ]
Благодарил (а): 120 раз.
Поблагодарили: 129 раз.

Re: КУРИЛКА (технический отдел)

Сообщение Jonson2 » 08 янв 2015, 12:47

Ну х.з. зимой ночью лещей ни разу не ловил, только днем. Тут да, поклевка на подъем.
Но товарисч так излагал:
Shade писал(а):ноччу дрыхнешь, а рыб твои вуды собирает и ныкает...

Стало быть тянет?
Да в общем то и на подьем сможет срабатывать, смотря как уравновесить. Правда така констракшн только в палатке будет действовать, на ветру спать не получится, все время будет будить :-)
Rioby (MTD)700 - 1л.с., Champion T334 - 1.2 л.с., Stihl FS130 4MIX 1.9 л.с., Форвард 620 в процессе...
Воронеж-Мини, Пеликан 280М
Аватара пользователя
Jonson2
Гуру
 
Сообщения: 1283
Зарегистрирован: 10 май 2011, 18:39
Откуда: Новосибирск
Репутация: 16 [ ? ]
Награды: 1
За особый вклад в жизнь форума (1)
Благодарил (а): 68 раз.
Поблагодарили: 184 раз.

Re: КУРИЛКА (технический отдел)

Сообщение WOWALET » 08 янв 2015, 17:04

Jonson2 писал(а):паровозный ревун на конце проводков.

Ревун - это хорошо, громко!! Вот токо небольшая проблемка с паром. Хотя... вода и дрова рядом, с собой таскать не надо. ====== Лень было комп включать, с планшета неудобственно. Хотел тоже подобное предложить, только не "колодец", а принцип электромагнитного измерительного прибора, в смысле подвеска стрелочной системы, с применением спиральных пружин. Точно так же корректор положения стрелки (то бишь кивка), в любом положении можно установить в зависимости от веса блесны. Вместо подвижной рамки - потенциометр с простейшими компараторами , переключатель типа галетного и , наконец, любимые герконы. Понятно, что я говорю о ПРИНЦИПЕ, естественно всё устройство должно быть "пояпонистей", чем в приборе.

За это сообщение автора WOWALET поблагодарил:
Shade
Аватара пользователя
WOWALET
Гуру
 
Сообщения: 1872
Зарегистрирован: 23 окт 2011, 17:44
Откуда: г. Северодвинск
Репутация: 3 [ ? ]
Благодарил (а): 20 раз.
Поблагодарили: 141 раз.

Re: КУРИЛКА (технический отдел)

Сообщение Потапыч » 08 янв 2015, 21:28

Здравствуйте уважаемые форумчане! Не нашел ничего поиском-осмелюсь спросить. Суть(вкратце)-имею маломерные плавсредства для мелководных водоемов и есть проблема-очень часто приходиться оставлять лодку на реке без присмотра (иногда несколько дней) для того чтобы уйти на озера,в избу ит.д. Если ранее проблем не возникало,то теперь появилось много пришлых людей и участились кражи.Есть необходимость привезти с собой некое компактное мотосредсво для того чтобы с его помощью отбуксировать лодку к месту стоянки,ночевки ,избушки, либо просто в укромное место. Нужен легкий примитивный нетонущий мотобуксир по типу мотокультиватора или мотособаки. Помогите советом ,ссылкой или может кто делал что-то подобное? Заранее прошу прощения за то что не оформил все как положено- просто не умею и с компом не дружу.
Потапыч
Новичок
 
Сообщения: 1
Зарегистрирован: 06 апр 2014, 08:35
Репутация: 0 [ ? ]
Благодарил (а): 0 раз.
Поблагодарили: 0 раз.

Пред.След.

Кто сейчас на конференции

Сейчас этот форум просматривают: нет зарегистрированных пользователей и гости: 2