
Модераторы: Darkroom, Konstantinovich, 116aavl, SanSanish


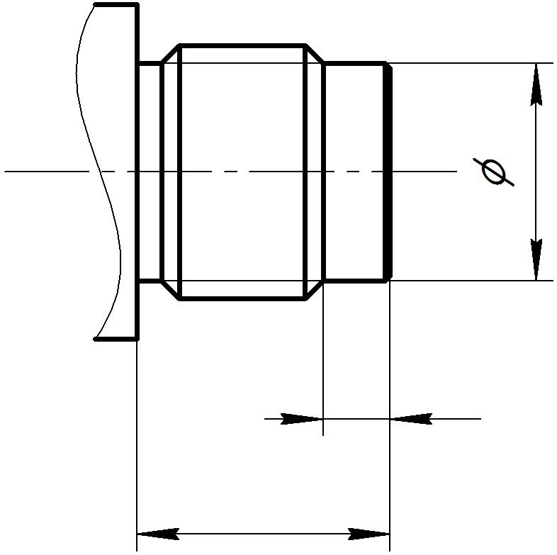
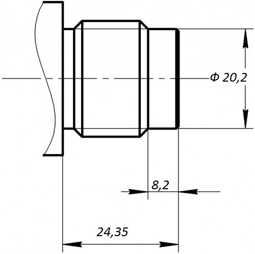
dima.22 писал(а):Эдгановская станция : диаметр 19.98, длина 26,7, до резьбы 9,95. У меня так, или руки такие
Сейчас этот форум просматривают: нет зарегистрированных пользователей и гости: 13