Во первых - не блуд, а флуд.

В блуд уйти - пули не нужны.
Во вторых и турбулентность и лобовое сопротивление имеют объекты любого размера. Ты видимо имел в виду - форму?
Если форму, то расскажи об этом лучше немцам, а то они уже второе столетие снаряжают Бренекке и не в курсе что после 35 метров попадать не имеют права.

Стреляют паразиты в разы дальше.
Вот такими
(фото с
Cсылка скрыта. Для просмотра необходима регистрация на форуме или войдите на форум. )
Про Майера и прочих "наклонно-ребристых" я думаю упоминать излишне?
В третьих расскажи, где взять пулелейку для снайперского "свинцового кубика"? Или предлагаешь этот кубик делать молотком из шарика?
В четвертых, не нравится пуля с косыми ребрами - отлей в головку для болтов с прямыми! Можешь взять даже под импортный ТОРХ - звездочку. Не нравятся с ребрами - отливай колпачки в обрезок баллончика от сифона, как раз под 12 калибр.
Не нравятся сложные геометрически формы? Лей шарики, летят кстати весьма точно, их бой трудновато испортить.
Для Carter.
Пули желательно делать все же колпачкового типа и прикручивать на дно пакет пыж/прокладки как у оригинальной Бренекке.
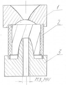
Для этого верхнюю крышку точить с полукруглой выборкой по диаметру тела пули (между ребрами) для формовки выпуклого носика, так лучше заполняется форма и выдавливает воздух.
Нижнюю крышку точить наоборот - с выпуклым конусом формирующим юбку пули. Причем желателен не просто конус, а оживало подобное винтовочной пуле для легкости извлечения. Под винт прикручивающий пыжи отверстие в пуле должно быть сделано сразу. Проще - игла на вершине конуса. Потом в отверстие ввернется саморез. Точнее но геморройней - сквозное отверстие в конусе с резьбой М3, М4 куда ввинчивается (и торчит) длинный болт из строймагазина. После отливки выкручивается из пули оставляя отличную соосную резьбу.
Лить можно из шиномонтажных грузиков (за пузырь на шиномонтажке) или аккумуляторного свинца. Желательно бросить чуток (до 5%) олова, тогда лучше и точнее заполняет форму. Форму при отливке прогревать, лить свинец, когда пленка на поверхности из синеватой станет краснеть, желтеющая - перегрев.
Перед заливкой форму изнутри подкоптить что бы пуля лучше извлекалась. Проще и удобней всего - на свечке. В заводских фитиль имеет пропитку от копоти, коптят маловато, проще скрутить фитилек из пучка суровой нитки и вставить в огарок или облепить парафином - копоти будет много.
Кстати - наклонность ребер не самоцель, если не найти подходящий бендикс, отлично подойдет головка с авторынка с прямыми ребрами, только подобрать в размер. Они есть в метрических, в дюймовых размерах и ТОРХы - "звездочки", так что выбор широк.