forum.Ohota.by в Telegram - ВОЙТИ

фрезерование,токарка.

Специаизированная барахолка. Купля, продажа, обмен пневматики, ММГ и сопутствующего. Только для участников группы пневматика. Перед публикацией читаем правила форума!

Модераторы: Darkroom, Konstantinovich, 116aavl, SanSanish

Правила форума
Общие положения:
Раздел предназначен для продажи, покупки или обмена изделиями конструктивно схожими с оружием. В раздел принимаются ТОЛЬКО частные объявления, коммерческие темы могут быть удалены.

ПРОДАЖА ТОЛЬКО КОНСТРУКТИВНО СХОДНЫХ С ОРУЖИЕМ ИЗДЕЛИЙ (ДО 3 ДЖ) и ММГ, продажа и покупка СХП , охолощённого и т.п. оружия запрещена
РАЗМЕЩЕНИЕ ОБЪЯВЛЕНИЙ ПО ПРЕДЛОЖЕНИЮ УСЛУГ ПО ИЗГОТОВЛЕНИЮ ПНЕВМАТИЧЕСКОГО ОРУЖИЯ ИЛИ ПО УСИЛЕНИЮ СЕРИЙНЫХ ОБРАЗЦОВ ЗАПРЕЩЕНО


ПРОДАЖА ПРИЦЕЛОВ НОЧНОГО ВИДЕНИЯ А ТАК ЖЕ НОЧНЫХ НАСАДОК НА ОПТИЧЕСКИЕ ПРИЦЕЛЫ, ЦИФРОВЫХ И ТЕПЛОВИЗИОННЫХ ПРИЦЕЛОВ И МОНОКУЛЯРОВ (БИНОКЛЕЙ, ГЛЯДЕ́ЛОК И Т.П. ) В ДАННОМ РАЗДЕЛЕ ЗАПРЕЩЕНА.

{Будет дополнено}

1. Создание тем:

1.1 Использование в названии темы ПРОПИСНЫХ БУКВ недопустимо! Исключение составляют аббревиатуры.

1.2 При создании темы прямо в названии темы указывайте как можно больше информации о товаре.
Недопустимы названия типа: “куплю”, “продам”, “продам срочно ” - не тратьте время, такие темы будут удалены.
В названии темы ОБЯЗАТЕЛЬНО должен быть указан предмет сделки!
Пример правильной темы:
“Продам сейф для ружья 820 x 200 x 195 мм. Минск.”
“Продам ИЖ-58М, 12 калибр”

1.3 В первом сообщении темы должна быть указана цена товара в белорусских рублях! Условия приобретения, обязательно реальное фото ( не из интернета ) продаваемого товара.

2. Правила публикации сообщений:

2.1 Цена продаваемого товара должна быть указана в белорусских рублях! - "еноты", "уе", "обамки" и прочие - повод для удаления темы модератором. Цена указывается обязательно! Объявления без цены могут быть удалены без предупреждения.

2.2 Запрещается ругань, оскорбления участников, частое использование Caps Lock, матерной речи и непонятной всем лексики. Возможна блокировка без предупреждения, не важно кто прав - не отвечайте ругательством на ругательство.

2.3 Любой продавец в праве продавать ЛЮБОЙ свой товар за любою цену, какую он желает. Если Вы не планируете покупать, то, что предложено в объявлении, обсуждение цены продавца в сторону ее занижения или завышения - ЗАПРЕЩЕНО! В теме допустимо лишь уточнение характеристик товара, запрос дополнительной информации, либо уточнение цены.

2.4 Запрещается размещать свои объявления, свои контактные данные или ссылки на свои темы в чужих темах (кроме случаев, когда идет обмен, или это явно попросил автор темы).

2.5 За указанные нарушения может последовать блокировка вплоть до бессрочной.

2.6 Поднятие темы о продаже без изменения цены или изменения характеристик товаров чаще чем 1 раз в 5 дней запрещается.
Под поднятием темы понимается написание чего угодно в своей теме ("Ап", "в продаже", "актуально" и т.д.). Исключением является ответы на вопросы пользователей.

2.6.1 На поставленный уточняющий вопрос о предмете продажи следует отвечать в теме. Кроме случаев, когда сам вопрос связан с личной информацией. Разрешено дублировать ответ в личку.

2.7 Обсуждение действий модератора в любой теме данного раздела запрещено.

Модератор может удалять любые сообщения, в которых будут допущены нарушения правил, а злостным нарушителям доступ в раздел будет закрываться полностью. :uch_tiv:
Поделиться ...

Re: фрезерование,токарка.

Сообщение Вotarsodjar » 21 сен 2020, 14:24

ВМР писал(а):Камрада уже месяц нет на форуме. :ne_vi_del: :ne_vi_del: :ne_vi_del:


Подождем, может объявится. Дело то в общем то хорошее и полезное.
Не надо убегать от снайпера - умрешь запыхавшись!
Аватара пользователя
Вotarsodjar
Полноправный участник
 
Сообщения: 37
Зарегистрирован: 15 сен 2020, 01:04
Откуда: Витебск
Репутация: 0 [ ? ]
Благодарил (а): 19 раз.
Поблагодарили: 1 раз.

forum.Ohota.by в Telegram - ВОЙТИ

Re: фрезерование,токарка.

Сообщение MAVRODI » 21 сен 2020, 14:51

Тема хорошая и главное нужная!Может и я сгожусь и материалом каким помогу.... :uch_tiv:
Вложения
564064DE-E922-4494-A9A0-C6226B8B34CF.jpeg
F5723A44-E39E-48D8-AA21-2383A4869B65.jpeg
Мир громкое слово…

За это сообщение автора MAVRODI поблагодарили - 2:
хромой, Вotarsodjar
Аватара пользователя
MAVRODI
Гуру
 
Сообщения: 1110
Зарегистрирован: 27 май 2016, 22:26
Откуда: Минск сити
Репутация: 33 [ ? ]
Благодарил (а): 294 раз.
Поблагодарили: 375 раз.

Re: фрезерование,токарка.

Сообщение советский » 21 сен 2020, 15:15

Дюралевый клондайк!!

За это сообщение автора советский поблагодарил:
MAVRODI
Аватара пользователя
советский
Аксакал
 
Сообщения: 246
Зарегистрирован: 22 окт 2015, 23:03
Откуда: Минск
Репутация: 6 [ ? ]
Благодарил (а): 28 раз.
Поблагодарили: 33 раз.

Re: фрезерование,токарка.

Сообщение советский » 21 сен 2020, 15:17

С таким запасом надо отдельную тему создать.

За это сообщение автора советский поблагодарил:
MAVRODI
Аватара пользователя
советский
Аксакал
 
Сообщения: 246
Зарегистрирован: 22 окт 2015, 23:03
Откуда: Минск
Репутация: 6 [ ? ]
Благодарил (а): 28 раз.
Поблагодарили: 33 раз.

Re: фрезерование,токарка.

Сообщение ВМР » 21 сен 2020, 17:14

MAVRODI писал(а):Тема хорошая и главное нужная!Может и я сгожусь и материалом каким помогу.... :uch_tiv:

Охренеть!!!! Вот это залежи. Неупиваемая чаша!!!! Эх порыться бы здесь со штангенциркулем. В гостях у сказки!!!! :co_ol: :co_ol: :co_ol:

За это сообщение автора ВМР поблагодарил:
MAVRODI
Аватара пользователя
ВМР
Гуру
 
Сообщения: 1654
Зарегистрирован: 15 авг 2015, 21:35
Откуда: Брест
Репутация: 14 [ ? ]
Благодарил (а): 199 раз.
Поблагодарили: 407 раз.

Re: фрезерование,токарка.

Сообщение ВМР » 21 сен 2020, 17:18

Только хозяин темы уже больше месяца не появляется на форуме. :ne_vi_del: :ne_vi_del: :ne_vi_del:
Аватара пользователя
ВМР
Гуру
 
Сообщения: 1654
Зарегистрирован: 15 авг 2015, 21:35
Откуда: Брест
Репутация: 14 [ ? ]
Благодарил (а): 199 раз.
Поблагодарили: 407 раз.

Re: фрезерование,токарка.

Сообщение MAVRODI » 21 сен 2020, 18:22

Сразу внесу ясность,это обычная шовная труба!Это не Д16Т...
Мир громкое слово…
Аватара пользователя
MAVRODI
Гуру
 
Сообщения: 1110
Зарегистрирован: 27 май 2016, 22:26
Откуда: Минск сити
Репутация: 33 [ ? ]
Благодарил (а): 294 раз.
Поблагодарили: 375 раз.

Re: фрезерование,токарка.

Сообщение советский » 21 сен 2020, 18:59

Эхххх :cry_ing: жаль.
Аватара пользователя
советский
Аксакал
 
Сообщения: 246
Зарегистрирован: 22 окт 2015, 23:03
Откуда: Минск
Репутация: 6 [ ? ]
Благодарил (а): 28 раз.
Поблагодарили: 33 раз.

Re: фрезерование,токарка.

Сообщение ВМР » 21 сен 2020, 19:01

MAVRODI писал(а):Сразу внесу ясность,это обычная шовная труба!Это не Д16Т...

Нуна модеры нормально пойдёт.
Аватара пользователя
ВМР
Гуру
 
Сообщения: 1654
Зарегистрирован: 15 авг 2015, 21:35
Откуда: Брест
Репутация: 14 [ ? ]
Благодарил (а): 199 раз.
Поблагодарили: 407 раз.

Re: фрезерование,токарка.

Сообщение MAVRODI » 21 сен 2020, 19:29

ВМР писал(а):
MAVRODI писал(а):Сразу внесу ясность,это обычная шовная труба!Это не Д16Т...

Нуна модеры нормально пойдёт.

На модеры стенка будет толстовата я так думаю.Толщина стенки начинается с 3мм
Мир громкое слово…
Аватара пользователя
MAVRODI
Гуру
 
Сообщения: 1110
Зарегистрирован: 27 май 2016, 22:26
Откуда: Минск сити
Репутация: 33 [ ? ]
Благодарил (а): 294 раз.
Поблагодарили: 375 раз.

Re: фрезерование,токарка.

Сообщение ВМР » 22 сен 2020, 10:05

Можно и проточить до нужного размера. Проблемы нет

За это сообщение автора ВМР поблагодарил:
MAVRODI
Аватара пользователя
ВМР
Гуру
 
Сообщения: 1654
Зарегистрирован: 15 авг 2015, 21:35
Откуда: Брест
Репутация: 14 [ ? ]
Благодарил (а): 199 раз.
Поблагодарили: 407 раз.

Re: фрезерование,токарка.

Сообщение steep » 22 сен 2020, 11:42

Приветствую, подскажите сколько будет выточить грибок поршня для Gamo?
+375336038638
steep
Новичок
 
Сообщения: 9
Зарегистрирован: 15 янв 2018, 01:27
Откуда: Минск
Репутация: 0 [ ? ]
Благодарил (а): 1 раз.
Поблагодарили: 0 раз.

Re: фрезерование,токарка.

Сообщение Вotarsodjar » 22 сен 2020, 13:39

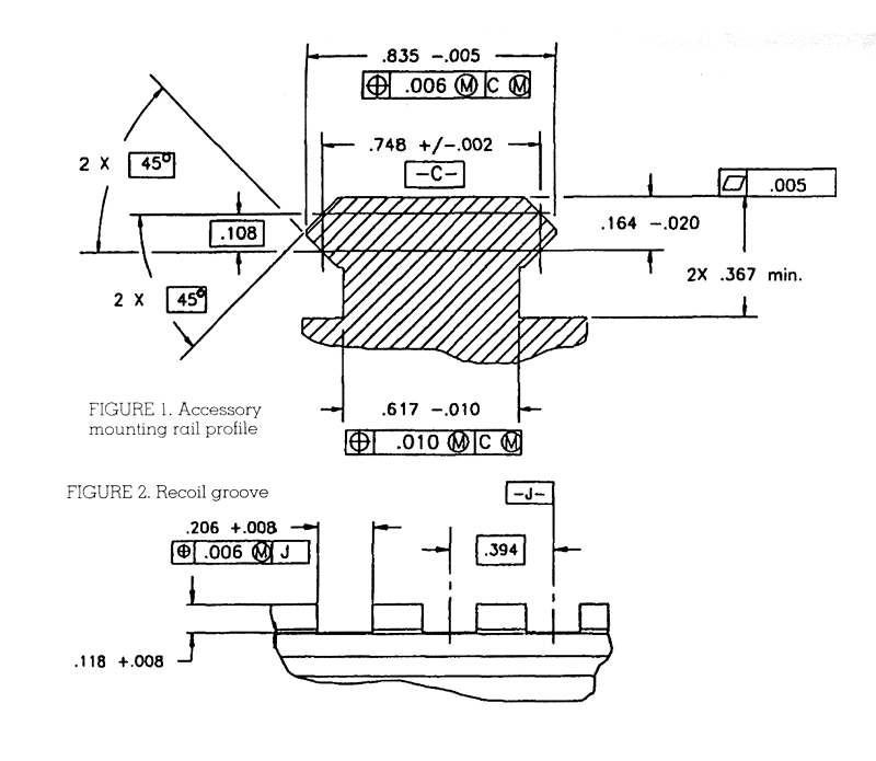
Привет. Я так думаю, что на этом форуме есть еще кто то, кроме автора темы, кто может взяться за изготовление деталей (например. кронштейна на 1377)?! На всякий случай, обновлю рисунок с размерами и добавлю размеры вивера для информации.
Вложения
Ласта.jpg
Ласта.jpg (24.52 КБ) Просмотров: 2704
ласта 2.jpg
Не надо убегать от снайпера - умрешь запыхавшись!
Аватара пользователя
Вotarsodjar
Полноправный участник
 
Сообщения: 37
Зарегистрирован: 15 сен 2020, 01:04
Откуда: Витебск
Репутация: 0 [ ? ]
Благодарил (а): 19 раз.
Поблагодарили: 1 раз.

Re: фрезерование,токарка.

Сообщение ВМР » 22 сен 2020, 19:23

Вotarsodjar писал(а):Привет. Я так думаю, что на этом форуме есть еще кто то, кроме автора темы, кто может взяться за изготовление деталей (например. кронштейна на 1377)?! На всякий случай, обновлю рисунок с размерами и добавлю размеры вивера для информации.

В Вашем чертеже не хватает как минимум одной проекции - ширина кронштейна какая??? 1-1000мм ???
И чем сие изделие крепится к аппарату??? :ne_vi_del: :ne_vi_del: :ne_vi_del:
Аватара пользователя
ВМР
Гуру
 
Сообщения: 1654
Зарегистрирован: 15 авг 2015, 21:35
Откуда: Брест
Репутация: 14 [ ? ]
Благодарил (а): 199 раз.
Поблагодарили: 407 раз.

Re: фрезерование,токарка.

Сообщение Вotarsodjar » 22 сен 2020, 19:34

ВМР писал(а):
Вotarsodjar писал(а):Привет. Я так думаю, что на этом форуме есть еще кто то, кроме автора темы, кто может взяться за изготовление деталей (например. кронштейна на 1377)?! На всякий случай, обновлю рисунок с размерами и добавлю размеры вивера для информации.

В Вашем чертеже не хватает как минимум одной проекции - ширина кронштейна какая??? 1-1000мм ???
И чем сие изделие крепится к аппарату??? :ne_vi_del: :ne_vi_del: :ne_vi_del:


Ширина кронштейна может быть в принципе любая от 25 мм, а крепление самого крона будет осуществляться гужоном сверху к стволу. Отверстие с резьбой под гужон потом будет дополнительно сверлиться под резьбу на М3 или М4. Если мастер сделает его сразу, то будет еще лучше.
Не надо убегать от снайпера - умрешь запыхавшись!
Аватара пользователя
Вotarsodjar
Полноправный участник
 
Сообщения: 37
Зарегистрирован: 15 сен 2020, 01:04
Откуда: Витебск
Репутация: 0 [ ? ]
Благодарил (а): 19 раз.
Поблагодарили: 1 раз.

Пред.След.

  • Похожие темы
    Ответы
    Просмотры
    Последнее сообщение

Кто сейчас на конференции

Сейчас этот форум просматривают: 6441bm3777, Haggen, kulhard, sanika-78, so4new, theFabrikator007, Yandex [Bot] и гости: 93