forum.Ohota.by в Telegram - ВОЙТИ

Самодельный лодочный мотор. Лодочный мотор из бензокосы.

Самодельные лодочные моторы, транспортные средства, лодки,а также все то что приводится в движения двигателем и не только.

Модератор: Yurkoff

Поделиться ...

Re: Самодельный лодочный мотор. Лодочный мотор из бензокосы.

Сообщение Alexandr72 » 08 апр 2011, 21:04

ZUBBER писал(а):... Никого не слушай про отсутствие нагрузок в воде и т.п., сам прикинь, плавные нагрузки на гладкий круг балгарки и её мощность, и ударная нагрузка на ред-р при встрече винта на полном ходу с корягой , или дном, когда мотор под 2 л.с. становится колом … Желательно винт делать с предохранительной шпонкой для любого редуктора....

:sh_ok: "А мужики-то не знают"...

Похоже ты мало работал болгаркой. Или уж очень аккуратен, каких мало. За это конечно почет и уважение. :co_ol:
У меня так частенько куски вырывает из круга и ничего. И редуктор и болгарка жива (причем одной из них уже 5 лет из них 2 года по кузовным работам отпахал), так что не нужно пугать человека сказками ужасными.
Пусто конечно навесит на ногу от большой профболгарки хрень килограмм на 3-5 и гоняет. Заодно вместо якоря будет. :-)

На своем редукторе от совершенно не профессиональной болгарки я в прошлом сехоне не единожды из-за лени махать веслами налетал на дно у берега. Сам редуктор просто проворачивался на ноге. Не более того. ::yaz-yk:

Ну и напоследок - есть поговорка, что и стеклянные вещи не все могут долго хранить целыми, так что тут как бЭ дело случая. Кому как повезет.

А вот на счет шпонки не буду спорить. В моем редукторе большая шестерня на шпонке, но ничего другого я делать не собираюсь. Ни вал резать ни сверлить...
За активный отдых! Печатаю всё и на всём. От брелка до билборда.

За это сообщение автора Alexandr72 поблагодарил:
evgen1111
Аватара пользователя
Alexandr72
Профи
 
Сообщения: 388
Зарегистрирован: 23 май 2010, 13:48
Откуда: Россия
Репутация: 4 [ ? ]
Благодарил (а): 83 раз.
Поблагодарили: 68 раз.

forum.Ohota.by в Telegram - ВОЙТИ

Re: Самодельный лодочный мотор. Лодочный мотор из бензокосы.

Сообщение putalo » 08 апр 2011, 22:22

Думаю при грамотной сборке и маленького редуктора хватит. Личный пример: ни одна токарная св... простите, не взялась сделать шпонпаз в валу 8-ке, тонким кругом болгарочки (маленькой)прорезал канавку, надфилем правил, проваривал 2-кой и торцевал по месту. С зазором в шестернях промухал. Итог-на чистой воде две выходки без проблем, а как мотанул траву на винт шестерни и слизались. Проскакивать стали, правда на малом газу почти в берег уперся, но это не утешение в первый из трех отпущенных судьбой дней :sh_ok:
Зависит конечно и от нагрузки, и от стиля "ВОЖДЕНИЯ", но если не уверен, то после пары-тройки походов проверяя состояние внутренностей. можно решить надо мощнее редуктор или этого на годик-другой хватит.
А может вообще их (редукторов) несколько иметь, с разными винтами и передаточными числами :-) Хорошо, конечно, но бюджет...
Что ни рожа-то СерОжа! Бриз-280Т+Partner 1.3 пони. 8-928-три473265
Аватара пользователя
putalo
Аксакал
 
Сообщения: 248
Зарегистрирован: 20 май 2010, 11:31
Откуда: Минеральные Воды
Репутация: 0 [ ? ]
Благодарил (а): 14 раз.
Поблагодарили: 36 раз.

Re: Самодельный лодочный мотор. Лодочный мотор из бензокосы.

Сообщение RV3LE » 08 апр 2011, 22:35

putalo писал(а):сделать шпонпаз в валу 8-ке, тонким кругом болгарочки (маленькой)прорезал канавку, надфилем правил, проваривал 2-кой и торцевал по месту.

А вот это совсем зря. У меня на валу сделано неглубокое сверление, в которое вставлен стальной шарик диаметром 3мм до половины своего диаметра.А на него, как на шпонку, одета шестерёнка.
Были сомнения в надёжности такой посадки до тех пор, пока не налетел на галечную осыпь и не заклинило камешком винт о мою кастрюлю. Винт у меня сделан из мягкой 5мм алюминевой шины, поэтому заклинило конкретно. Да так, что потом пришлось этот камушек ножиком выковыривать. Но шестерни и эта "шпонка" выдержали.

За это сообщение автора RV3LE поблагодарил:
evgen1111
Аватара пользователя
RV3LE
Гуру
 
Сообщения: 1296
Зарегистрирован: 01 июл 2010, 23:09
Репутация: 14 [ ? ]
Награды: 1
За особый вклад в жизнь форума (1)
Благодарил (а): 90 раз.
Поблагодарили: 279 раз.

Re: Самодельный лодочный мотор. Лодочный мотор из бензокосы.

Сообщение putalo » 08 апр 2011, 22:52

Прислал дядюшка мне фотки, он был оператором, тока живет в челябинске. пережал. Калмыкия, октябрь 2010.
Вложения
DSC02576.jpg
подбор заглубления
DSC02586.jpg
батин "кальмар"
DSC02620.jpg
Не зря...
DSC02592.jpg
Перед кончиной!Ё
Что ни рожа-то СерОжа! Бриз-280Т+Partner 1.3 пони. 8-928-три473265

За это сообщение автора putalo поблагодарил:
evgen1111
Аватара пользователя
putalo
Аксакал
 
Сообщения: 248
Зарегистрирован: 20 май 2010, 11:31
Откуда: Минеральные Воды
Репутация: 0 [ ? ]
Благодарил (а): 14 раз.
Поблагодарили: 36 раз.

Re: Самодельный лодочный мотор. Лодочный мотор из бензокосы.

Сообщение putalo » 08 апр 2011, 23:03

RV3LE
Рассказали потом этот способ, поздно. Хотя шпонка и паз выдержали. Надо крепление редуктора переосмыслить, хомут приослаб, редуктор приопустился, и зазор критический. Переделал, винт заводской установил, пробовать пока не выходит.
Товарищ просится испытать на моей косе водометную насадку, для науки и опыта согласен, как соберёт-отстегну редуктор с винтом, и стану кинооператором :-)
Что ни рожа-то СерОжа! Бриз-280Т+Partner 1.3 пони. 8-928-три473265
Аватара пользователя
putalo
Аксакал
 
Сообщения: 248
Зарегистрирован: 20 май 2010, 11:31
Откуда: Минеральные Воды
Репутация: 0 [ ? ]
Благодарил (а): 14 раз.
Поблагодарили: 36 раз.

Re: Самодельный лодочный мотор. Лодочный мотор из бензокосы.

Сообщение evgen1111 » 08 апр 2011, 23:11

Купил я в ноябре 2010 болгарочку с кругом на 115 мм, ну очень китайская. На ней даже артикул стоит 0000000...001 и больше никакой инфы нету. Г..но-г...ном, и стоит 400 рупей. Резал ей все, что придется - от банок пивных до трубы 300 мм (в смысле кусочек вырезал) и дюраль 10 мм и всякую другую фигню. Недавно разобрал на предмет инспекции редуктора - на шестернях только зеркало набило и практически никакого износа. Кстати, зазор на шестернях у нее минимальный. А посему, необязательно редуктор использовать от болгарок мировых брендов. Китаезы механику делают вполне приличную, а вот электрика 50 на 50 (или будет работать - или нет).
И о кусочке трубы 300 мм. Приварил я ее к куску швелера выямкой вверх, положил в нее выточеную из 2 мм заготовку для лопости, тук - тук молоточком и лопасть приняла приятную кривизну в продольном направлении. После приварки она очень жесткая на изгиб и напором воды ее не выгнет.
evgen1111
Аксакал
 
Сообщения: 120
Зарегистрирован: 06 мар 2011, 00:03
Откуда: Н.Новгород
Репутация: 1 [ ? ]
Благодарил (а): 58 раз.
Поблагодарили: 31 раз.

Re: Самодельный лодочный мотор. Лодочный мотор из бензокосы.

Сообщение ZUBBER » 08 апр 2011, 23:31

evgen1111 писал(а):А представь себе ситуевину когда при 8-11 тыс. оборотов круг болгарки закусывает, да так что двиг останавливается. Ни разу не видел чтобы ломался редуктор.

Alexandr72 писал(а):Похоже ты мало работал болгаркой. Или уж очень аккуратен, каких мало. За это конечно почет и уважение. У меня так частенько куски вырывает из круга и ничего. И редуктор и болгарка жива (причем одной из них уже 5 лет из них 2 года по кузовным работам отпахал), так что не нужно пугать человека сказками ужасными.Пусто конечно навесит на ногу от большой профболгарки хрень килограмм на 3-5 и гоняет.


Вы хотите нам доказать что соплячий якорь болгарки, который менее 5см. в диаметре, и 10см. длинной, имеет ту же "дурь", инерцию и крутящий момент что и бензомотор ?? Если быть точным, то производители электроинструмента немного лукавят, выдавая указанное на этикетке энергопотребление за мощность ... Я как говорится, "за что купил, за то и продаю". Разлетевшихся или взорвавшихся редукторов, правда пока тоже не встречал :-) , но выбитые из шестерен зубья видел. И слизанные зубы на обеих шестернях, после испытаний первого моего лодочного мотора тоже видел, а там была всего лиш намотавшаяся на винт травка, а я по неопытности и упрямству пытался "выехать" на чистое, с тем клубком сена на винте.... На мотор который в данный момент доделываю, даже и не стал пытатся ставить редуктор от маленькой (125 мм), подобной прошлогодней балгарки (маленький сгоревший БОШ можно было умыкнуть со склада на работе...), а поставил от более "крупноколиберной", "Sparky" (150мм). Так как если уж 1лс. хватило ухандокать мелкий редуктор, то 2лс его при случае точно ухандокает... Мотор должен быть максимально надежным, чтобы запёршись на другой конец какого озера не грести потом до вечера назад.... По поводу профессионального инструмента скажу, что профессиональная шлифмашинка - это не всегда очень огромная шлифмашинка :-) , мой первый редуктор как раз и был от маленького профессионального БОШа... Кстати во время первых рыбалок, несколько раз бывало что забывал поднять свой 3 кг. свинцовый блин-груз, (замечал что блин облепленный травой вихляется за кормой, помню только метров через 50), лодка шла не намного медленее чем с поднятым грузом. Это я к тому, что незначительно увеличенные габариты редуктора, более мощной балгарки, особого влияния на ход не окажут. Один хрен еще остается запас мощности мотора, который тем не менее разогнать далее лодку уже не способен..

ИМХО Редуктор лучше искать от хорошей, профессиональной балгарки, он более качественно изготовлен по сравнению с бытовым ширпотребом. К подобному инструменту, в случае беды будет легче найти шестерни. Лодочный мотор делается не на один сезон, потому желательно его делать надежно и надолго... :-)

За это сообщение автора ZUBBER поблагодарили - 3:
боцман72, evgen1111, Rus72
Аватара пользователя
ZUBBER
Просто Зуббер
 
Сообщения: 4024
Зарегистрирован: 12 июл 2009, 18:48
Репутация: 15 [ ? ]
Награды: 3
За особый вклад в жизнь форума (3)
Благодарил (а): 350 раз.
Поблагодарили: 993 раз.

Re: Самодельный лодочный мотор. Лодочный мотор из бензокосы.

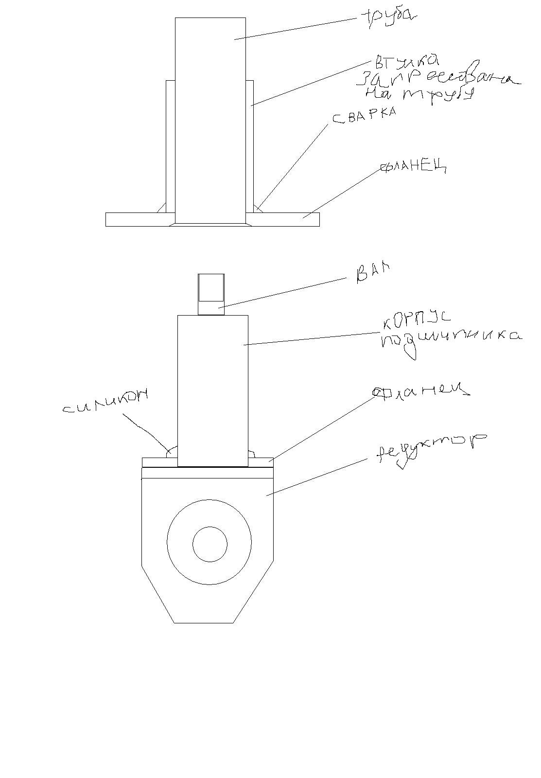
Сообщение evgen1111 » 08 апр 2011, 23:38

putalo писал(а):Надо крепление редуктора переосмыслить, хомут приослаб, редуктор приопустился, и зазор критический.
Напрессованая на горячую втулка с фланцем держится на трубе насмерть. Корпус подшипника с фланцем прижимает родной подшипник ведущего вала, содержит дополнительный подшипник и все это герметизируется минимумом герметика.
Вложения
ред.JPG
evgen1111
Аксакал
 
Сообщения: 120
Зарегистрирован: 06 мар 2011, 00:03
Откуда: Н.Новгород
Репутация: 1 [ ? ]
Благодарил (а): 58 раз.
Поблагодарили: 31 раз.

Re: Самодельный лодочный мотор. Лодочный мотор из бензокосы.

Сообщение Alexandr72 » 09 апр 2011, 09:23

ZUBBER писал(а):ИМХО Редуктор лучше искать от хорошей, профессиональной балгарки, он более качественно изготовлен по сравнению с бытовым ширпотребом. К подобному инструменту, в случае беды будет легче найти шестерни. Лодочный мотор делается не на один сезон, потому желательно его делать надежно и надолго... :-)

В моем случае редуктор он "болгарки", т.е. от фирмы Элтос, что в переводе "настоящая". Может по этому в прошлом году, одну рыбалку я только и делал, что срезал с винта траву, но на шестернях нет и малейшего следа износа. А случай тот я описывал. В двух словах: Метр на моторе и 10 веслами. Намучился п.п.ц. Однако, повторюсь, редуктору хоть бы хрен. И по дну винтом молотил с психу.
С одним соглашусь - на бренд легче найти запчасти, но... а какой бренд? У меня бренд, но "тех лет". А запчасти сейчас на скилы да на спарки, т.е. на то, чем заполонили прилавки.

Далее, что касаемо на "много лет"... Ты сам говоришь, что в прошлом сезоне один мотор, а сейчас второй.. так о каком долгожительстве речь? :mi_ga_et:

Вот я точно знаю, что каждый сезон переделывать не буду. За зиму я вообще ничего не делал (даже сам мотор до сих пор в багажнике вожу). Других дел полно, а мотор... - сделал я его и им буду пользоваться. Гонка вооружения не для меня, разве что винты поделаю для экспериментов и оградиться от травы. Действую по принципу : "Не мешай машине работать". :co_ol:
За активный отдых! Печатаю всё и на всём. От брелка до билборда.
Аватара пользователя
Alexandr72
Профи
 
Сообщения: 388
Зарегистрирован: 23 май 2010, 13:48
Откуда: Россия
Репутация: 4 [ ? ]
Благодарил (а): 83 раз.
Поблагодарили: 68 раз.

Re: Самодельный лодочный мотор. Лодочный мотор из бензокосы.

Сообщение NaF » 09 апр 2011, 09:41

Господа однополчане,а к родному косилочному редуктору никто не приглядовался? На руках пока косилки нет,а в магазине осмотр только внешний.Может у кого какие-нибудь подсказки будут,спасибо.
NaF
Полноправный участник
 
Сообщения: 15
Зарегистрирован: 04 апр 2011, 05:43
Репутация: 0 [ ? ]
Благодарил (а): 0 раз.
Поблагодарили: 0 раз.

Re: Самодельный лодочный мотор. Лодочный мотор из бензокосы.

Сообщение ZUBBER » 09 апр 2011, 11:11

Alexandr72 писал(а):Далее, что касаемо на "много лет"... Ты сам говоришь, что в прошлом сезоне один мотор, а сейчас второй.. так о каком долгожительстве речь?

Ты думаешь, что раз доделываю второй, то первый мотор я уже выбросил ? :-)
Alexandr72 писал(а):Может по этому в прошлом году, одну рыбалку я только и делал, что срезал с винта траву, но на шестернях нет и малейшего следа износа.
Сколько раз ты был на рыбалке с мотором ? Два бензобака ? Это не показатель. Я не утверждаю что небрендовая балгарка должна сразу развалится, я лиш хочу сказать, что искать желательно брендовую.
NaF писал(а):Господа однополчане,а к родному косилочному редуктору никто не приглядовался

Трудно обеспечить герметичность, из-за угла наклона плоскости вращения немного увеличится длина "ноги". А так, народ на них тоже плавает.
Аватара пользователя
ZUBBER
Просто Зуббер
 
Сообщения: 4024
Зарегистрирован: 12 июл 2009, 18:48
Репутация: 15 [ ? ]
Награды: 3
За особый вклад в жизнь форума (3)
Благодарил (а): 350 раз.
Поблагодарили: 993 раз.

Re: Самодельный лодочный мотор. Лодочный мотор из бензокосы.

Сообщение RAMM » 09 апр 2011, 13:41

Я сейчас делаю на родном редукторе. Огромный конечно же МИНУС-длина "ноги" :-( Но есть и плюсы: меньше мороки с переделкой и герметизацией, не нужно месяцами бегать за токарями!!! Герметизируется проще простого-сальник 20 на 32 по краям заливается небольшим слоем эпоксидной смолы (выковырять в случае замены легко), остальное герметиком, в том числе и ось со шлицами (там где прижимная шайба).

За это сообщение автора RAMM поблагодарили - 2:
Barkas235, evgen1111
Аватара пользователя
RAMM
Полноправный участник
 
Сообщения: 44
Зарегистрирован: 07 мар 2011, 19:46
Откуда: Украина. Винница
Репутация: 0 [ ? ]
Благодарил (а): 14 раз.
Поблагодарили: 10 раз.

Re: Самодельный лодочный мотор. Лодочный мотор из бензокосы.

Сообщение RAMM » 09 апр 2011, 13:52

на родном редукторе
Вложения
IMG_0025.JPG
на родном редукторе
Аватара пользователя
RAMM
Полноправный участник
 
Сообщения: 44
Зарегистрирован: 07 мар 2011, 19:46
Откуда: Украина. Винница
Репутация: 0 [ ? ]
Благодарил (а): 14 раз.
Поблагодарили: 10 раз.

Re: Самодельный лодочный мотор. Лодочный мотор из бензокосы.

Сообщение NaF » 09 апр 2011, 14:58

RAMM,а разъём корпуса редуктора тоже на герметик или как?
NaF
Полноправный участник
 
Сообщения: 15
Зарегистрирован: 04 апр 2011, 05:43
Репутация: 0 [ ? ]
Благодарил (а): 0 раз.
Поблагодарили: 0 раз.

Re: Самодельный лодочный мотор. Лодочный мотор из бензокосы.

Сообщение RAMM » 09 апр 2011, 15:30

Да! Особенно торец трубы "ноги" в районе подшипника редуктора, предварительно очистив и обезжирив поверхности и ещё резьбу стопорного и масляного болтов, только аккуратно, чтобы герметик не попал в смазку редуктора.
Аватара пользователя
RAMM
Полноправный участник
 
Сообщения: 44
Зарегистрирован: 07 мар 2011, 19:46
Откуда: Украина. Винница
Репутация: 0 [ ? ]
Благодарил (а): 14 раз.
Поблагодарили: 10 раз.

Пред.След.

  • Похожие темы
    Ответы
    Просмотры
    Последнее сообщение

Кто сейчас на конференции

Сейчас этот форум просматривают: нет зарегистрированных пользователей и гости: 23