forum.Ohota.by в Telegram - ВОЙТИ

Заправочный штуцер для крикет

Ищу, куплю...

Модераторы: Darkroom, Konstantinovich, 116aavl, SanSanish

Правила форума
ПРОДАЖА ТОЛЬКО КОНСТРУКТИВНО СХОДНЫХ С ОРУЖИЕМ ИЗДЕЛИЙ (ДО 3 ДЖ) и ММГ , продажа и покупка СХП , охолощённого и т.п. оружия запрещена!
РАЗМЕЩЕНИЕ ОБЪЯВЛЕНИЙ ПО ПРЕДЛОЖЕНИЮ УСЛУГ ПО ИЗГОТОВЛЕНИЮ ПНЕВМАТИЧЕСКОГО ОРУЖИЯ ИЛИ ПО УСИЛЕНИЮ СЕРИЙНЫХ ОБРАЗЦОВ ЗАПРЕЩЕНО
Поделиться ...

Заправочный штуцер для крикет

Сообщение Сашко » 10 мар 2023, 14:10

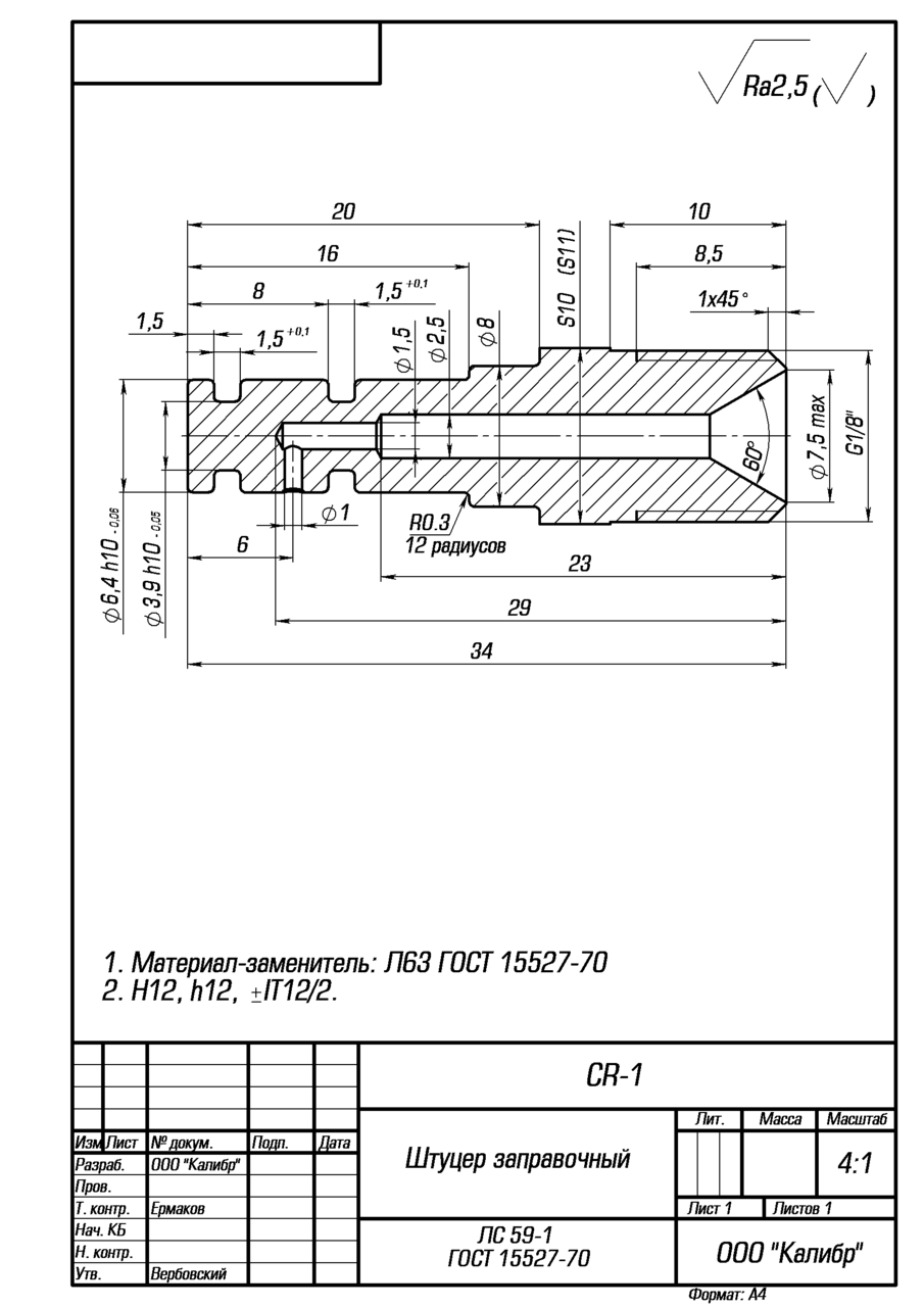
Нужен заправочный штуцер для крикет, может у каго есть ненужный, или кто может изготовить.
Сашко
Аксакал
 
Сообщения: 157
Зарегистрирован: 16 сен 2017, 21:06
Откуда: минск
Репутация: 1 [ ? ]
Награды: 1
Участник Фестиваля (1)
Благодарил (а): 7 раз.
Поблагодарили: 14 раз.

forum.Ohota.by в Telegram - ВОЙТИ

Re: Заправочный штуцер для крикет

Сообщение Дед_Пихто » 10 мар 2023, 14:20

для "изготовить" чертеж нужен ...
Аватара пользователя
Дед_Пихто
Гуру
 
Сообщения: 1156
Зарегистрирован: 03 ноя 2018, 20:18
Откуда: Минск
Репутация: 26 [ ? ]
Благодарил (а): 221 раз.
Поблагодарили: 440 раз.

Re: Заправочный штуцер для крикет

Сообщение theFabrikator007 » 10 мар 2023, 15:16

Посмотрите на этот чертеж - должен подойти. Внешний вид по ссылке Cсылка скрыта. Для просмотра зарегистрируйтесь на форуме или войдите на форум.
штуцер крикет.png
Зеленая тоска на синей морде не видна! (из Аватара. Путь воды)

За это сообщение автора theFabrikator007 поблагодарил:
Дед_Пихто
Аватара пользователя
theFabrikator007
Профи
 
Сообщения: 662
Зарегистрирован: 30 дек 2020, 01:11
Откуда: Витебск
Репутация: 5 [ ? ]
Благодарил (а): 121 раз.
Поблагодарили: 91 раз.


  • Похожие темы
    Ответы
    Просмотры
    Последнее сообщение

Кто сейчас на конференции

Сейчас этот форум просматривают: нет зарегистрированных пользователей и гости: 31